umi官网登录入口
首页
居支两委
居务公开
“三长”履职
umi官网登录入口
首页
居支两委
居务公开
“三长”履职
归档时间:
已归档
当前位置:
首页
>
状元洲街道_槐树社区
>
居务公开
>
财务公开
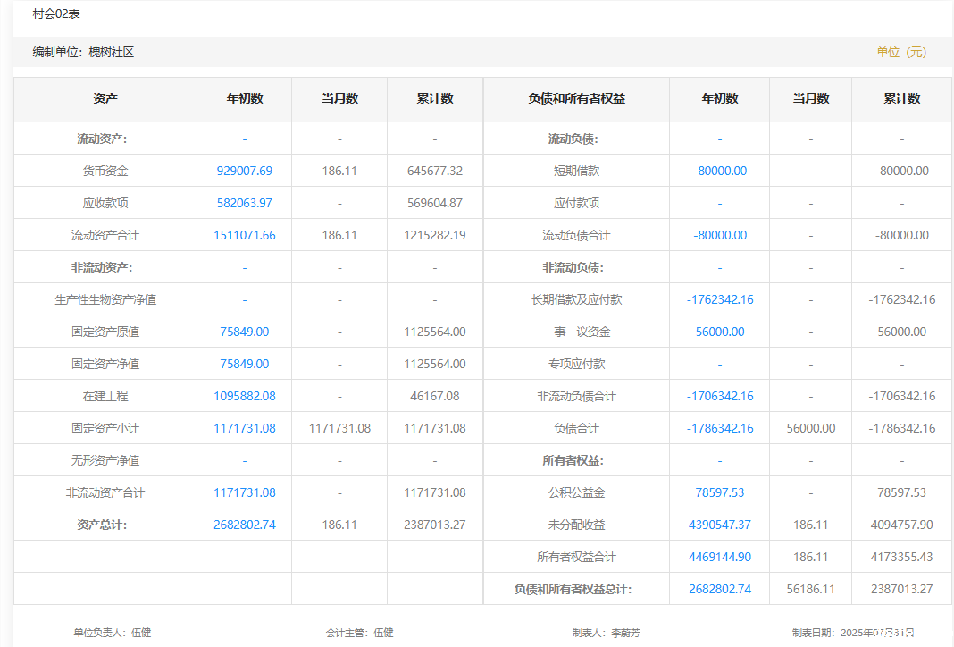
2025年6月槐树社区村级财务资产负债明细
发布时间:
2025-08-13
信息来源:优米网官网首页
关闭
国家部委网站
省市政府网站
省直单位网站
各县市区网站
网站地图
主办单位:米优app怎么注册账号、优米app苹果版本下载 承办单位:优米app苹果下载(区数据局)
区政府办电话:0739-5081798 邮箱:btqxzspj@189.cn
湘公网安备 43051102000006号
备案号:
湘ICP备20010157号-1
网站标识码:4305110001 地址:邵阳市优米app苹果版本下载
主办单位:米优app怎么注册账号、优米app苹果版本下载
承办单位:优米app苹果下载(区数据局)
区政府办电话:0739-5081798 邮箱:btqxzspj@189.cn
湘公网安备 43051102000006号
备案号:
湘ICP备20010157号-1
网站标识码:4305110001
地址:邵阳市优米app苹果版本下载
map